Видавництво Моноліт +38(056)735-50-35 +38(095)931-39-89;
Купити повну версію книги

Двигатель Hyundai Sonata с 2014 г. Обслуживание на автомобиле

1. Обслуживание на автомобиле
Проверка компрессии
Примечание:
При потере мощности, повышенном расходе топлива или повышенном расходе масла, проверьте компрессию в цилиндрах двигателя.

1. Прогрейте двигатель до нормальной рабочей температуры и остановите его.
2. Снимите декоративную крышку двигателя.
Двигатели 1,6 л и 2,4 л:
3. Отсоедините разъем (A) удлинительного жгута проводов форсунок и электрические разъемы (В) катушек зажигания.
Проверка компрессии Hyundai Sonata с 2014 года
Двигатели 2,0 л:
4. Отсоедините электрические разъемы (А) форсунок.
Проверка компрессии Hyundai Sonata с 2014 года
Продолжение описания общих работ:
5. Снимите катушки и свечи зажигания.
6. Проверьте компрессию в цилиндрах:
(1) Вставьте компрессометр в отверстие под свечу зажигания.
Проверка компрессии Hyundai Sonata с 2014 года
(2) Полностью откройте дроссельную заслонку.
(3) Проворачивая коленчатый вал двигателя, измерьте компрессию.
Примечание:
Для достижения скорости вращения двигателя 200 об/мин или более используйте полностью заряженную аккумуляторную батарею.

(4) Повторите шаги (1) – (3) для каждого цилиндра.
Примечание:
1. Данное измерение необходимо проводить в течение максимально короткого периода времени.
2. Значение компрессии:
(1) Нормативное значение:
- Двигатели 1,6 л: 1225,83 кПа (12,5 кг/см²).
- Двигатели 2,0 л MPi: 1275 кПа (13,0 кг/см²).
- Двигатели 2,0 л T-GDI: 1078 кПа (11,0 кгс/см²).
- Двигатели 2,4 л: 1324 кПа (13,5 кгс/см²).
(2) Минимальное значение:
- Двигатели 1,6 л: 1078,73 кПа (11,0 кг/см²).
- Двигатели 2,0 л MPi: 1128 кПа (11,5 кг/см²).
- Двигатели 2,0 л T-GDI: 931 кПа (9,5 кгс/см²).
- Двигатели 2,4 л: 1177 кПа (12,0 кгс/см²).
(3) Разница давлений в любой из пар цилиндров: 100 кПа (1,0 кг/см²) или меньше.
(5) В случае низкой компрессии в одном или нескольких цилиндрах влейте небольшое количество моторного масла через отверстие для свечи зажигания и повторите шаги (1) – (3) для всех цилиндров с низкой компрессией.
- Если добавление масла помогает нормализовать компрессию, вероятно, имеет место износ или повреждение поршневых колец и/или поверхности цилиндров.
- Если же давление остается низким, возможно, заедает или неправильно установлен какой-либо клапан, или имеется утечка через прокладку.

7. Установите свечи и катушки зажигания.
8. Остальные компоненты устанавливайте в порядке, обратном снятию.
9. После этого испытания могут возникнуть некоторые DTC, которые необходимо стереть вручную с помощью сканера GDS.
Проверка и регулировка клапанного зазора
Примечание:
Проверьте и отрегулируйте зазоры клапанов, когда двигатель холодный (температура охлаждающей жидкости двигателя: 20°C) и головка блока цилиндров установлена на блок.

Двигатели 1,6 л
1. Снимите крышку головки блока цилиндров.
2. Установите поршень цилиндра № 1 в положение ВМТ такта сжатия:
- Поверните шкив коленчатого вала и совместите его канавку с меткой синхронизации на крышке цепи привода газораспределительного механизма.
Проверка и регулировка клапанного зазора Hyundai Sonata с 2014 года
- Убедитесь, что метки на звездочках системы CVVT впускных и выпускных клапанов находятся на одной линии с плоскостью головки блока цилиндров, как показано на рисунке. Если нет, поверните коленчатый вал на один оборот (360°).
Примечание:
Недопустимо вращать шкив виброгасителя коленчатого вала против часовой стрелки.

Проверка и регулировка клапанного зазора Hyundai Sonata с 2014 года
- Нанести несмываемым маркером на звенья цепи привода механизма газораспределения метки, соответствующие установочным меткам на звездочках CVVT.
Проверка и регулировка клапанного зазора Hyundai Sonata с 2014 года
3. Снимите переходник (А) регулятора масла (OCV) выпускных клапанов.
Проверка и регулировка клапанного зазора Hyundai Sonata с 2014 года
4. Проверьте клапанный зазор:
(1) Проверьте только зазоры впускных клапанов цилиндров №1 и №2, а также зазоры выпускных клапанов цилиндров №1 и №3.
- С помощью толщиномера измерьте зазор между толкателем и основной окружностью распределительного вала.
Проверка и регулировка клапанного зазора Hyundai Sonata с 2014 года
- Запишите значения зазоров клапанов, не соответствующие спецификации. Они будут использоваться позже для определения необходимой регулировки толкателя.
Примечание:
Спецификация зазоров клапанов (эксплуатационный предел!) (температура охлаждающей жидкости двигателя: 20°C):
- Впуск: 0,17 - 0,23 мм.
- Выпуск: 0,32 - 0,38 мм.

(2) Поверните шкив коленчатого вала на один оборот (360° по часовой стрелке) и совместите его канавку с меткой синхронизации на крышке цепи привода газораспределительного механизма.
(3) Проверьте зазоры впускных клапанов цилиндров №3 и №4, а также зазоры выпускных клапанов цилиндров №2 и №4.
Проверка и регулировка клапанного зазора Hyundai Sonata с 2014 года
5. Снимите монтажный кронштейн двигателя:
- Подставьте под масляный поддон гаражный домкрат.
Примечание:
Поместите между домкратом и масляным поддоном деревянный брусок, чтобы предотвратить повреждение поддона.

Проверка и регулировка клапанного зазора Hyundai Sonata с 2014 года
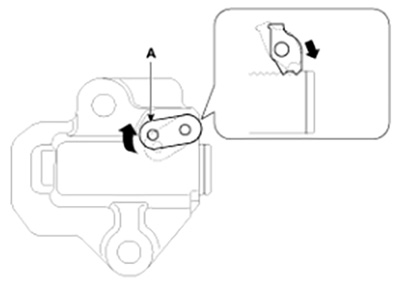
- Отсоедините провод «массы» двигателя (A).
Проверка и регулировка клапанного зазора Hyundai Sonata с 2014 года
- Снимите монтажный кронштейн (A) двигателя.
Проверка и регулировка клапанного зазора Hyundai Sonata с 2014 года
- Немного приподнимите двигатель домкратом, чтобы получить доступ для ослабления натяжителя цепи привода газораспределительного механизма.
6. Отрегулируйте клапанный зазор впускного и выпускного клапанов:
- Выверните болт (А) из технологического отверстия крышки цепи привода газораспределительного механизма.
Проверка и регулировка клапанного зазора Hyundai Sonata с 2014 года
- Зафиксируйте натяжитель цепи привода газораспределительного механизма в полностью отведенном положении. Вставьте остроконечный инструмент в технологическое отверстие в крышке цепи и опустите отверстие на левой стороне храповика (A) на натяжителе, чтобы поднять собачку («B» – расположено в натяжителе за храповиком).
Проверка и регулировка клапанного зазора Hyundai Sonata с 2014 года
Проверка и регулировка клапанного зазора Hyundai Sonata с 2014 года
- Снимите крышки (А) подшипников распределительного вала в порядке, указанном ниже.
Проверка и регулировка клапанного зазора Hyundai Sonata с 2014 года
- При поднятой собачке помощник должен приподнять CVVT и распределительный вал (A) выпускных клапанов, чтобы обеспечить втягивание плунжера натяжителя (B).
Проверка и регулировка клапанного зазора Hyundai Sonata с 2014 года
Проверка и регулировка клапанного зазора Hyundai Sonata с 2014 года
- При нахождении плунжера натяжителя в полностью втянутом положении поднимите отверстие в левой стороне храповика (A) через технологическое отверстие в крышке цепи для совмещения отверстия храповика с отверстием в корпусе натяжителя за храповиком, затем зафиксируйте натяжитель, вставив остроконечный инструмент в отверстия корпуса натяжителя и храповика.
Проверка и регулировка клапанного зазора Hyundai Sonata с 2014 года
- Отверните болт крепления и отделите распределительный вал выпускных клапанов (A) от CVVT.
Проверка и регулировка клапанного зазора Hyundai Sonata с 2014 года
- Снимите с CVVT цепь привода газораспределительного механизма (A).
Проверка и регулировка клапанного зазора Hyundai Sonata с 2014 года
- Снимите CVVT и распределительный вал впускных клапанов в сборе.
Проверка и регулировка клапанного зазора Hyundai Sonata с 2014 года
Примечание:
Закрепите цепь привода газораспределительного механизма к подвесной проушине двигателя с помощью кабельной стяжки, чтобы предотвратить падение цепи вниз после демонтажа CVVT распределительного вала впускных клапанов.

Проверка и регулировка клапанного зазора Hyundai Sonata с 2014 года
- Извлеките толкатель (-и) клапанов с зазором, не соответствующим спецификации, из головки блока цилиндров.
Проверка и регулировка клапанного зазора Hyundai Sonata с 2014 года
- Измерьте толщину снятого толкателя с помощью микрометра.
Проверка и регулировка клапанного зазора Hyundai Sonata с 2014 года
- Рассчитайте толщину нового толкателя, чтобы зазор клапанов соответствовал спецификации.
Клапанный зазор (температура охлаждающей жидкости двигателя: 20°C):
T: толщина снятого толкателя.
A: измеренный клапанный зазор.
N: толщина нового толкателя.
Впуск: N = T + [A - 0,20 мм].
Выпуск: N = T + [A - 0,25 мм].
- Выберите новый толкатель с толщиной как можно ближе к рассчитанному значению.
Примечание:
Можно использовать регулировочные прокладки 41 различного размера с шагом 0,015 мм от 3,00 мм до 3,690 мм.
- Установите новый толкатель в головку блока цилиндров.
- Установите CVVT и распределительный вал впускных клапанов, совместив установочную метку на звездочке впускного CVVT с меткой (окрашенное звено) на цепи привода газораспределительного механизма.
- Установите CVVT и распределительный вал выпускных клапанов, совместив установочную метку на звездочке выпускного CVVT с меткой (окрашенное звено) на цепи привода газораспределительного механизма.
- Установите выпускной CVVT на распределительный вал выпускных клапанов. Момент затяжки: 63,7 – 73,5 Н∙м.
- Удалите остроконечный инструмент из технологического отверстия крышки цепи привода газораспределительного механизма.

Проверка и регулировка клапанного зазора Hyundai Sonata с 2014 года
- Убедитесь в совмещении каждой из установочных меток на звездочках впускного и выпускного CVVT, как показано на рисунке.
Проверка и регулировка клапанного зазора Hyundai Sonata с 2014 года
- Заверните болт в технологическое отверстие крышки цепи привода газораспределительного механизма. Момент затяжки: 27,5 - 30,4 Н·м.
- Установите монтажный кронштейн двигателя.
- Установите крышки подшипников распределительных валов в порядке, указанном ниже.
Примечание:
Момент затяжки:
- 1-й шаг: 5,9 Н∙м (болты М6) и 9,8 Н∙м (болты М8).
- 2-й шаг: 11,8 - 13,7 Н∙м (болты М6) и 18,6 - 22,6 Н∙м (болты М8).

Проверка и регулировка клапанного зазора Hyundai Sonata с 2014 года
- Проверните коленчатый вал на два оборота в рабочем (по часовой стрелке) направлении, затем убедитесь, что отметки на звездочках CVVT впускных и выпускных клапанов находятся на одной прямой с поверхностью головки блока цилиндров.
Проверка и регулировка клапанного зазора Hyundai Sonata с 2014 года
- Еще раз проверьте клапанный зазор.
Примечание:
Спецификация зазоров клапанов (температура охлаждающей жидкости двигателя: 20°C):
- Впуск: 0,17 - 0,23 мм.
- Выпуск: 0,22 - 0,28 мм.
- Установите переходник регулятора масла (OCV) выпускных клапанов. Момент затяжки: 9,8 - 11,8 Н·м.
- Установите крышку головки блока цилиндров.

Двигатели 2,0 л T-GDI и 2,4 л
Примечание:
- При снятии топливного насоса высокого давления, топливопровода высокого давления, топливной рампы и форсунки существует риск получения травм в результате утечки топлива под высоким давлением. Поэтому запрещается выполнять ремонтные работы непосредственно после остановки двигателя.
- В качестве примера, операции показаны на двигателе 2,4 л.

1. Снимите крышку головки блока цилиндров.
2. Установите поршень цилиндра № 1 в положение ВМТ такта сжатия:
- Поверните шкив коленчатого вала и совместите его канавку с меткой синхронизации «T» на крышке цепи привода газораспределительного механизма.
Проверка и регулировка клапанного зазора Hyundai Sonata с 2014 года
- Снимите крышку цепи привода газораспределительного механизма.
- Убедитесь, что метки (А) верхней мертвой точки на звездочках CVVT находится на одной линии с плоскостью головки блока цилиндров, как показано на рисунке. В противном случае проверните коленчатый вал на один оборот (360°).
Проверка и регулировка клапанного зазора Hyundai Sonata с 2014 года
3. Проверьте клапанный зазор:
- Проверьте только клапаны, указанные на рисунке. Измерьте зазор клапана.
• С помощью толщиномера измерьте зазор между толкателем и основной окружностью распределительного вала.
Проверка и регулировка клапанного зазора Hyundai Sonata с 2014 года
• Запишите значения зазоров клапанов, не соответствующие спецификации. Они будут использоваться позже для определения необходимой регулировки толкателя.
Примечание:
Спецификация зазоров клапанов (эксплуатационный предел!) (температура охлаждающей жидкости двигателя: 20°C):
- Впуск: 0,10 - 0,30 мм.
- Выпуск: 0,20 - 0,40 мм.
- Поверните шкив коленчатого вала на один оборот (360°) и совместите его канавку с меткой синхронизации «T» на крышке цепи привода газораспределительного механизма.
- Проверьте только указанные клапаны. Измерьте зазор клапана.

Проверка и регулировка клапанного зазора Hyundai Sonata с 2014 года
4. Отрегулируйте клапанный зазор впускного и выпускного клапанов:
- Снимите распределительный вал в сборе.
- Измерьте толщину снятого толкателя с помощью микрометра.
Проверка и регулировка клапанного зазора Hyundai Sonata с 2014 года
- Рассчитайте толщину нового толкателя, чтобы зазор клапанов соответствовал спецификации.
Клапанный зазор (температура охлаждающей жидкости двигателя: 20°C):
T: толщина снятого толкателя.
A: измеренный клапанный зазор.
N: толщина нового толкателя.
Впуск: N = T + [A - 0,20 мм].
Выпуск: N = T + [A - 0,30 мм].
- Выберите новый толкатель с толщиной как можно ближе к рассчитанному значению.
Примечание:
Можно использовать регулировочные прокладки 47 различного размера с шагом 0,015 мм от 3,00 мм до 3,690 мм.
- Установите новый толкатель в головку блока цилиндров.
- Установите на место распределительный вал в сборе.
- Проверните коленчатый вал на два оборота в рабочем (по часовой стрелке) направлении, затем убедитесь, что отметки (A) ВМТ на звездочках CVVT находятся на одной прямой с поверхностью головки блока цилиндров.
- Еще раз проверьте клапанный зазор.

Примечание:
Спецификация зазоров клапанов (температура охлаждающей жидкости двигателя: 20°C):
- Впуск: 0,17 - 0,23 мм.
- Выпуск: 0,32 - 0,38 мм.